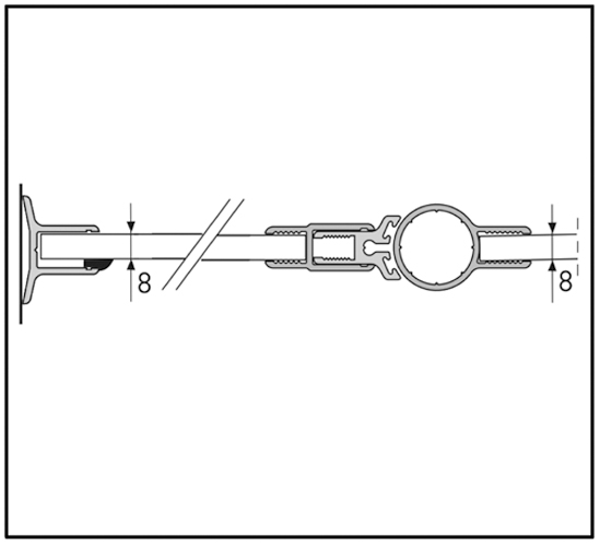
ALLOVITRES vous propose des charnières pour pare-douches. Ce produit est disponible d'une hauteur maximum de 2200 mm et largeur 800 mm maximum. Matériau en aluminium laqué qui convient au système pivotant pour fixer votre paroi de douche en verre . Ce produit est fait pour du verre trempé sécurit d'une épaisseur de 8mm.
Cette chanière supporte une porte en verre d'une hauteur maximum de 2200 mm et largeur 800 mm maximum.
| Blocage | 90 Degré |
| Longueur | 2200 mm |
| Matériau | en aluminium |
| Désignation | verre-mur |
| Portée | 800 mm |
| avec | Mécanisme de came levante |
AIDE A LA POSE




Cette charnière pour pare douche 90° vous permet de monter votre paroi de douche en verre sur votre mur sur toute la longueur de votre paroi en verre.
Son système de pose sur toute la hauteur de votre porte de douche assure une étanchéité optimale.
